
咨询热线深13923499923
美国SWEK连体卡套式仪表阀
技术指标
介质温度:200℃-560℃
公称压力:2.5Mpa-25Mlpa
工作压力:2.5Mpa-16Mpa
适用介质:适用于油品、水和腐蚀介质
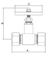
尺寸表:

通径 | 结构长度A | 中心高B | 手柄长度C | 重量KG |
DN6/1/4’ | 81 | 84 | 60 | 0.44 |
DN10/3/8’ | 86 | 86 | 70 | 0.48 |
DN15/1/2’ | 109 | 123 | 95 | 1.7 |
DN20/3/4/ | 109 | 123 | 96 | 1.6 |
DN25/1’ | 109 | 123 | 96 | 1.6 |
材质表
部件/类别 | 321 | 316 | 316L |
阀体 | 321 | 316 | 316L |
阀座 | 321 | 316 | 316L |
阀杆 | 司太立STL | 司太立STL | 司太立STL |
阀瓣 | 阀瓣Co-Cr-W钢球 | 阀瓣Co-Cr-W钢球 | 阀瓣Co-Cr-W钢球 |
填料 | 柔性石墨 | 柔性石墨 | 柔性石墨 |
温压曲线图

留下联络方式 客户将电子版采购清单和联系方式发送至邮箱:kentuo@ctrok.com,或来电咨询 0755-2104-8717
选型与报价彩运彩票收到客户采购清单,销售顾问会第一时间为客户选型与报价。
电话沟通相关事宜 电话沟通商定:交货期、特殊要求等事宜。